1、微波双线的PCB形式
微带线是由微波双线在特定条件下的具体应用。图1-a. 即为微波双线及其场分布示意图。在微波级工作频率的
PCB基板上,可以构成常规的异面平行双线(图1-b.所示)或变异的异面平行双线(图1-c.所示)。当其中一条状线与另一条状线相比可等效为无穷大时,便构成典型的微带线(如图1-d.所示)。从双传输线到微带,仅边缘特性改变,定性特征基本一致。
注:在许多微波专业论述中,均仅仅描述由常规均匀圆柱形导体构成的双传输线,对PCB电路的双线描述则以矩形条状线为常规双传输线。

2、微带线的双线特征
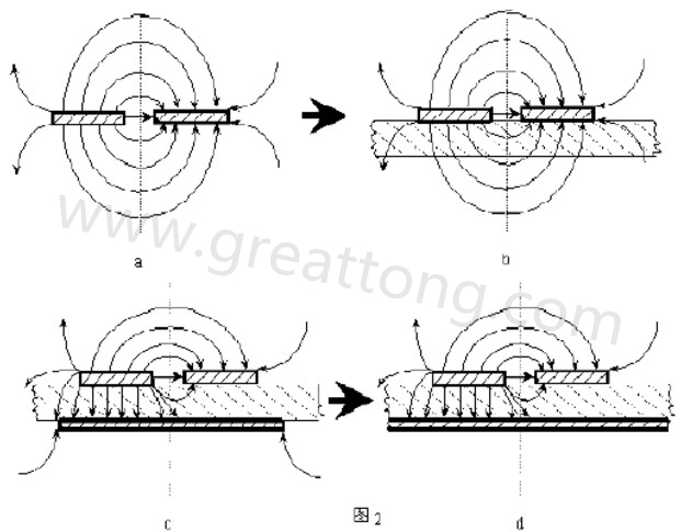
图2-a.为常规微波双线的场分布示意图。图2-b.为PCB条状线场分布示意图。图2-c.为带有有限接地板的微波双线场分布示意(注:图中双线之一和接地板连通)。图2-d为具有相对无穷大接地板之双线场分布示意(注:图中双线之一和接地板连通)。
图3-a.为典型偶模激励耦合微带线场分布示意。图3-b. 为典型奇模激励耦合微带线场分布示意。
从图1、图2、图3所示场分布状态看,双线与微带线(包括耦合微带线)特性仅仅为边缘特性的不同。

深圳宏力捷推荐服务:PCB设计打样 | PCB抄板打样 | PCB打样&批量生产 | PCBA代工代料
